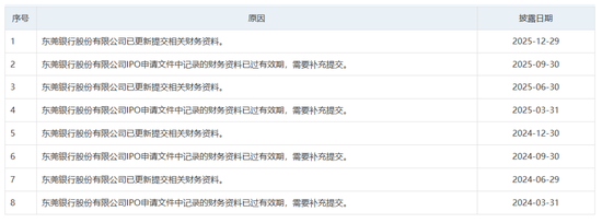
“据了解,自2024年3月以来,东莞银行和南海农商银行四次因相同的财务资料过期后补充资料而将IPO状态由‘中止’变为恢复。”
深交所近日披露,东莞银行和南海农商银行的IPO审核状态已由“中止”变更为“已受理”。

东莞银行筹谋上市已久,从启动A股上市之路到现在已有17个年头。
早在2008年3月,东莞银行即向证监会递交上市申请。2012年初,证监会披露信息显示,该行IPO进入“落实反馈意见”阶段。不过,此后,2014年东莞银行却因未完成预披露而被终止审查。
直至2018年,东莞银行重启上市,并且在广东证监局办理了辅导备案登记,进入上市辅导期,并于2019年报送招股书,且得到证监会反馈。2023年3月全面注册制正式实施后,该行完成申报,IPO上市审核过渡至深交所。
而南海农商银行则于2018年启动上市辅导,于2019年5月首次向证监会提交IPO申请并拟在深交所中小板上市,同样因全面注册制改革,该行于2023年3月将上市申请平移至深交所。
不过,此后,上述两家银行多次因IPO申请文件中记录的财务资料已过有效期,被“中止”上市。
今年3月31日,东莞银行和南海农商银行就曾因财务资料过期而被“中止”上市,并于6月更新相关提交资料而再次恢复IPO状态。不过,今年9月,两家银行又再度因财务资料过期原因而从“已受理”状态变为“中止”。
同时,这也是两家银行自2024年3月以来,第四次因相同的财务资料过期后补充资料而将IPO状态由“中止”变为恢复。


尽管IPO审核得以恢复,但两家银行最近的业绩表现却难言乐观。
今年前三季度,东莞银行实现营业收入69.18亿,同比下降9.39%;净利润为25.44亿,同比下降20.66%。南海农商银行实现营业收入42.77亿,同比下滑8.73%;净利润18.65亿,同比下降17.08%。
事实上,自2022年兰州银行上市后,A股银行板块已连续三年未迎新客。目前,沪深主板仅剩湖州银行、湖北银行、江苏昆山农商银行、东莞银行及南海农商银行5家“预备队”。
本文来自作者[星河万里]投稿,不代表希扎逊号立场,如若转载,请注明出处:https://dxalshfzz.com/jsfx/202601-1475.html
评论列表(3条)
我是希扎逊号的签约作者“星河万里”
本文概览: “据了解,自2024年3月以来,东莞银行和南海农商银行四次因相同的财务资料过期后补充资料而将IPO状态由‘中止’变为恢复。” 深交所近日披露,东莞银行和南海农商银行的I...
文章不错《东莞银行、南海农商银行的IPO有了新进展》内容很有帮助